新闻中心 - 金华人民医院UPS供电保障方案 - 台达

2012/7/30

金华人民医院UPS供电保障方案

摘要:随着中国经济的飞速发展,中国的医疗系统水平也快速上升,各级医院都在不断的完善其软硬件建设水平。医疗系统信息化、精密化已经成为一个共识。所以,UPS等高可靠供电保障系统也逐步应用到医院机房及重要医疗系统的供电。本文藉由对金华人民医院新病房大楼UPS供电保障系统案例,讨论医疗系统中UPS设计所需遵循的标准、设计、选型的原则要素。

关键词:医疗系统 供电保障系统 信息化 UPS HIFT NT

1 前言
金华市人民医院为了改善住院条件,目前,医院投入资金3千多万元,新建了一幢15层高的病房大楼。该大楼,内部设施先进、功能齐全,已经投入使用。为提高整个医院的医疗服务水平及信息化程度,新大楼设计了统一的计算机数据中心,中心设置专门的UPS机房,包括机房专用UPS及医疗系统支撑UPS。

根据负载功率初步统计情况,UPS按如下功率需求进行配置:机房配置模块化120kVA UPS 1台,后备时间1h;大楼ICU、呼吸机、手术室等系统,配置260kVA以上UPS 1台,后备时间4h;要求UPS具有:高可靠性、高可用性、环保节能。

根据《GB/T 16895.24-2005 建筑物电气装置第7-710部分:特殊装置或场所的要求医疗场所》标准要求,手术室、ICU、呼吸系统等属于2类医疗场所,要求主电源与备用电源之间切换时间<0.5S。一般的双市电切换及备用柴油机启动时间均无法满足要求,且目前各系统均多数采用微机数字化控制。因此,上述系统一般建议配置UPS不间断电源系统,以保证为该场所内的医疗电器设备提供一个安全、可靠的电源,以确保病人的安全、提高医疗服务质量。

医疗场所安全设施的分级见附录[1],医疗场所安全设施的类别和级别划分示例见附录[2]。

2 整体方案总述

2.1 数据机房UPS选型

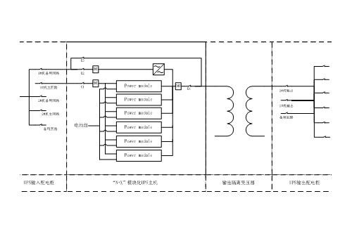
大楼数据中心采用台达HIFT 120kVA UPS。配置1台UPS输入柜、1台UPS输出柜。输入输出各预留一套开关,作今后UPS扩容至第二机架使用。根据《建筑物电气装置第7-710部分:特殊装置或场所的要求医疗场所》规定要求,在UPS输出同时配置一个输出隔离变压器。具体结构如图1所示。

HIFT系列UPS采用模块化设计的结构极具弹性,可实现N+1、N+2、N+3、N+4、N+5…的模块N+X 冗余,供电系统拥有最高的可靠性。同时,客户还可通过定购额外的模块,来增加HIFT的备用冗余能力。HIFT UPS具有随需扩容的性能优势,可以按照现在的负载进行配置,当机房负载扩容时,直接热插入模块,扩容灵活、方便,以20kVA一个模块为单位,最大可扩充至480kVA的冗余供电系统。

本次根据现场负载需求,台达提供一种更经济的HIFT UPS供电系统冗余配置方案,采用HIFT 120kVA UPS 1台,由6个20kVA模块组成总功率120kVA,模块5+1并联冗余系统。输出侧采用TN-S配电系统,确保供电系统更安全可靠、提供更佳的保护效果。

2.2 医疗系统用UPS选型

大楼内医疗系统采用台达GES-NT系列大型工业级UPS,UPS输入、输出各配置一台配电屏,屏内预留未来扩容空间。UPS自带输出隔离变压器,满足《建筑物电气装置第7-710部分:特殊装置或场所的要求医疗场所》规定。UPS输出屏根据输出各楼层用点需要,设置配电回路,为呼吸机系统、ICU、手术室及各楼层护士站等提供供电回路。系统建议配置结构如图2所示。

NT系列 UPS是专为大型用户所设计,其主要应用领域为各种数据处理系统、电信系统、卫星系统、网络系统、医疗设备、安全紧急逃生设备、监控保全系统、各种工厂设备。

NT系列UPS,采用先进的IGBT高频切换正弦脉宽调变技术设计,使UPS供电质量好、效率高、热损耗小、噪音低、体积小及寿命长,同时采用模块化设计可降低平均修护时间(MTTR),使维护工作更简便,藉由微处理器的数字化设计,简化复杂的模拟线路及大量减少零件数目,使系统更为安全可靠。人性化设计使NT-系列UPS为使用者提供了可用性强的高质量电力,为广大信息用户的最理想守护神。

2.3 电池容量计算

电池容量计算,参考行业标准 《YD/T5040-2005 通信电源设备安装工程设计规范》进行。计算公式为:

Q=K*T*I/η*(1+α*(1-25)]

(1)式中 : Q——蓄电池容量(Ah);
K——安全系数,取1.25;
I——负载电流(A);
T——电池放电小时数 (h);
η——放电容量系数;
t——实际电池放电所在地最低温度数值,所在地有采暖设备时,按15℃考虑,无采暖设备时,按5℃考虑;
α——电池温度系数(1/℃),当放电小时率≥10h,取α=0.006;当1≤放电小时率<10h,取α=0.008;当放电小率<1h,取α=0.01 。
表1 铅酸蓄电池放电电容量系数(η)表

UPS电池的总容量,应按UPS容量,采用公式(2)估算出蓄电池的计算放电电流I,再根据公式(1)算出蓄电池的容量。
I=S*0.8/μ*U

(2)式中: S ——UPS额定容量 (KVA);
I ——蓄电池的计算放电电流 (A);
μ ——逆变器的效率;
U——蓄电池放电时逆变器的输入电压(V)(蓄电池单体电压1.85时)。
各系统计算结果列于表2。

表2 各系统计算结果

3 项目UPS功能特性介绍

3.1 HIFT系列UPS特性
3.1.1 模块热插拔技术
单个模块均可在线并入和退出,无须转旁路操作,大大提升了故障维护和未来扩容的方便性。图3

传统UPS在故障时转到旁路,用户一般不敢拆开机器,只能打电话给厂家寻求服务支持。在服务人员赶赴现场的时间里,旁路电已经工作,市电没有经过净化处理,直接供给负载,如此时停电,将负载中断,将会造成不可估量的损失。HIFT采用热插拔技术后,大大降低了维护时间,以及维护人员的技术要求,一般培训半天,用户即可自行更换模块,提高了系统运行的可用性。

3.1.2 IGBT整流技术

采用的IGBT整流技术,使HIFT具有优异的输入特性,可为绿色产品的典范,输入功率因数≥0.99,输入电流谐波失真<3% ,是业界最高指标。该指标可以使用户的输入电缆、空开、无功补偿柜、发电机的容量降低,降低了用户整个系统的安装材料成本。一般6脉冲的UPS 需要按配比配置发电机的容量,按照经验发电机容量需要比UPS大(2.5∽3)倍之间才能正常工作。HIFT 只需要(1.1∽1.3)倍即可.

3.1.3 模块最高功率密度比

20kVA模块仅为3U高度.目前数据机房都在提倡空间利用率的情况下,功率密度比高的将是用户理想的选择,功率密度比高,也体现模块本身的功耗小,散热小才能安装在紧凑的空间里.一个机柜里可装6个模块,120kVA的尺寸仅520*910*1650mm 。

3.1.4内置同步控制技术

目前,根据国际TIA-942标准的最高可用性第IV等级方案里,需要采用LBS同步控制,实现双母线方案。目前市场上大多数都采用外置LBS ,以及多增加多股控制线缆, 增加了故障点和额外的选配件投资。我们采用内置同步控制技术,减少了故障点,提升了系统可靠性,同时满足了用户的需求有节约了成本.

3.1.5 机架并机技术

模块化UPS可靠度已经非常高,为了使各部分都能实现模块化,不仅模块冗余,还可以实现机架和线缆的冗余,实现系统的真正模块化,同时也可实现整个系统达480kVA的容量需求.

3.2 NT系列UPS特性介绍

3.2.1直接并机技术

台达NT系列UPS以高速的微处理器为基础的数字化设计,各台UPS能够精确快速的返馈逆变补偿电流与电压的参数,同时经由通讯线对负载的功率取样返馈逆变补偿电流的参数,使各UPS之间的电压保持稳定一致,环流也可以大幅度的降低,可同时并接8台同型UPS运行。

3.2.2支持并机共用电池组功能

台达NT系列UPS,采用独特的并机同步整流技术,实时监测并机系统中各UPS直流母线电流大小,使得各UPS直流母线均流,达到系统共用同一套电池的功能。从而实现并机时,UPS冗余,而电池无需冗余,当某一UPS故障退出系统后,整套电池仍能对UPS系统供电,避免电池重复投资,减少电池占地空间要求。

3.2.4在线修改运行参数

管理者也可以经由UPS的控制面板依实际需要设定相应的管理参数(如输入/输出电压、频率范围,充电电压、电流,密码设定..等)。

3.2.5智能风扇转速控制

多段式冷却风扇速度控制,改善系统可靠度、效率、噪音及提高风扇使用寿命。

4 总结

秉承台达产品优异的品质,良好的市场口碑,以及专业售前技术支援,周密的方案论证和设计,使得其产品方案获得了客户首肯,顺利中标该项目。为金华人民医院今后的信息化发展建设献上一股稳固的推进力。

附录
[1] 医疗场所安全设施的分级(摘自GB/T 16895.24-2005附录A)
[2] 医疗场所安全设施的类别和级别划分示例(摘自GB/T 16895.24-2005附录B)
[3] 配置清单



新闻来源:中达电通股份有限公司